WordPress后台如何查看当天用户注册数量以及用户注册时间排序教程
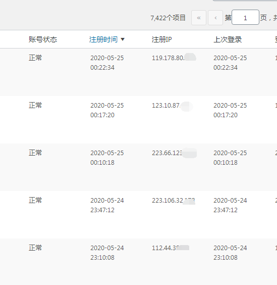
WordPress后台如何查看当天用户注册数量以及用户注册时间排序教程 今天在群里唠嗑的时候,有个朋友问怎么看今日注册用户数量,我心想这不就是用户注册时间排序吗,这玩意儿一段代码即可搞定。 于是便本着助人为乐的心态给答应他用代码整一个,其实
WordPress教程
WordPress教程
WordPress教程
WordPress教程
WordPress教程
WordPress教程
WordPress教程
WordPress教程
WordPress教程